РАСПРЕДЕЛИТЕЛЬ С УПРУГОЙ ШЛАНГОВОЙ ВСТАВКОЙ
Назначение.
Для регулирования расхода и перекрытия потока рабочей среды (жидкости или газа).
Применение.
Может найти применение в трубопроводной арматуре и гидроаппаратуре гидропневмосистем и гидропневмоприводов.
Потребители.
Различные отрасли машиностроения.
Описание.
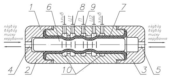
Особенностью распределителя с упругой шланговой вставкой является то, что между золотником и корпусом установлено упругую шланговую вставку, торцовые поверхности которой зажаты между корпусом и крышками, в которых выполнены отверстия для подвода – отвода давления управления к торцевым поверхностям золотника. Упругую вставку выполнено из любого упругого пластичного материала с упругостью, которая обеспечивает возобновление исходной формы вставки и герметизацию рабочей полости от полости управления.
Достоинства.
Снижение кавитационного износа рабочих кромок и, как результат, снижение внутренних утечек, отсутствие необходимости притирки корпуса к золотнику, повышенная взаимозаменяемость элементов распределителя.
Стадия разработки.
Имеется вся документация и расчетные методики
Форма реализации.
Разработка машин для конкретных процессов, оказание технической помощи при внедрении и эксплуатации.
Владелец разработки.
Донбасская государственная машиностроительная академия Кафедра “Машины и технология обработки металлов давлением” 84313, г. Краматорск, ул. Академическая, 72 тел. (0626) 41-81-22, 41-87-49 Авторы: д.т.н., профессор Роганов Л.Л., к.т.н. Роганов М.Л., аспирант Корчак Е.С.

Рис.1 Распределитель с упругой шланговой вставкой
DISPENSER WITH RESILIENT HOSE INSERTION
Designation.
For fluid/gas flow-rate control and stream shutoff.
Application domains.
It can find application in pipeline armature and in hydraulics of hydraulic-pneumatic systems and hydraulic-pneumatic drives.
Consumers.
Different branches of machine-building.
Description.
Distinctive feature of dispenser with resilient hose insertion is a resilient hose insertion between slide valve and casing, the face surfaces of which are clamped between the casing and the covers containing openings for control pressure input/output to the slide-valve face surfaces. The resilient insertion is made of any resilient plastic material with a resiliency providing resumption of the initial form of insertion and sealing of working cavity from the control cavity.
Advantages.
Reduction of cavity wear of attacking edges and, as a result, reduction of internal losses, absence of the necessity of grinding in of the casing to the slide-valve, higher interchangeability of distributor elements.
Development stage.
All the documentation and calculation methods are available
Implementation.
Development of machines for specific processes, providing of technical assistance in introduction and exploitation.
Proprietor.
Donbass State Engineering Academy The department of metalforming machines and technology 84313, Kramatorsk, Shkadinova street, 72 Tel. (0626) 41-81-22, 41-87-49 Designers: doctor of technical sciences, professor L.L.Roganov, candidate of technical sciences M.L.Roganov, graduate student E.S.Korchak